CST630C阴极保护智能测试系统专用于埋地管道的阴极保护及腐蚀状态监测,可对阴极保护参数进行可用于有无阴保状态下埋地金属试片的腐蚀速率在线监测,实时监测和数据记录,并通过无线网络将数据上传到云端服务器,实现数据的智能化采集、分析和管理。
阴极保护监测仪采用圆柱形设计可固定安装于测试桩内。所配置的ER腐蚀探头则采用与埋地管道相同的材质,并采用防水结构设计,可直接埋入所监测管道附近,并与受保护金属结构实现电连接。可远程测量受阴极保护前后管道腐蚀速率,可以对阴极保护效果进行实时检验,避免了传统上采用失重埋片法的繁琐过程。


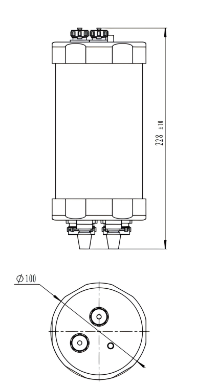
图1.阴极保护监测仪 图2. ER腐蚀监测探头
产品特点
适用行业:常用于石油石化行业的埋地管道、储油罐、市政燃气管道、海港工程、地下管廊等金属构筑物的阴极保护监测。
实时监测:能够实时监测管道的保护电位、断电电位、自然腐蚀电位、交流干扰电压、杂散电流等阴极保护参数,采用ER腐蚀监测探头还可对比阴极 保护前后管道腐蚀速率。
强兼容性:采用RS485/RJ45通信接口以及标准Modbus协议,可适配用户管理系统数据导入,也可通过4G无线网络将数据上传到云端服务器。
数据管理:所监测数据均同步保存于本地不易失储存器和云端服务器,通过云端数据处理和分析,并将结果呈现给用户,方便用户实时了解阴极保护系统的运行状态,及时发现和判断腐蚀风险。
远程监控:能够设置风险阈值,及时预警和处理腐蚀风险,保证管道的安全运行,提高阴极保护系统的整体安全性。
主要技术指标
产品型号 | CST630C | CST630C-ER |
AD转换分辨率 | 24bit(0.06/1,000,000) | |
腐蚀速率测量范围 | / | 0.1μm/a~10mm/a |
腐蚀分辨率 | / | 感受元件寿命@0.01% |
电位测量范围 | -2.5V~+2.5V,0.1%FS(包含保护电位、断电电位、自腐蚀电位) | |
断电采样时间 | 0~1000 毫秒 | |
阴极保护电流测量范围 | 0~250mA,0.1%FS | |
交流干扰电位 | 0~80V,±0.5V | |
温度测量范围 | -30~+60℃,±1℃ | |
数据存储容量 | 8 M bytes 可存储100,000条数据 | |
RTC时钟误差 | <1分钟/月 | |
定时测量间隔 | 1~255小时 | |
通信方式 | RS485,GPRS,Lora可选(标准Modbus协议) | |
供电方式 | DC12V ~24V,市电或太阳能供电 | |
尺寸 | Φ100*228mm(可适配测试桩) | |
重量 | 1.5kg | |
工作温度 | -30°C~60°C | |
工作湿度 | ≤95%(无冷凝) | |
外壳材料 | 耐候工程塑料 | |
防护等级 | IP65 | |

CST630C
安装示意图

图2. CST630C-ER阴极保护智能测试桩工作示意图
案例介绍
用于燃气管道实时监测管道的阴极保护状态